Вы здесь:

Общие сведения и технические данные

Коробки монтажные огнестойкие КМ-О IP66.

Назначение

Предназначены для соединения и разветвления огнестойких кабельных линий. Применяются для монтажа внутри помещений и на открытом воздухе под навесом.  Корпус изготовлен из листовой конструкционной стали Ст3 толщиной 1,2 мм, имеет защитное оцинкованное покрытие и окрашен полимерной краской в белый цвет RAL 9016. 

Конструкция 

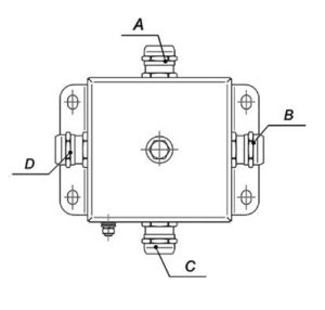
Корпус коробок монтажных огнестойких имеет прямоугольную или квадратную форму. Крышка герметично прилегает к корпусу за счёт соединения винтами и уплотнительной силиконовой прокладки. Внутри корпуса располагаются керамические клеммные колодки. На крышке и корпусе располагаются заземляющие зажимы «РЕ». В боковых стенках установлены кабельные вводы из нержавеющей стали, обеспечивающие степень защиты не ниже IP66. 

Особенность 

Коробки монтажные огнестойкие имеют повышенную коррозионную стойкость за счёт гальванической обработки и полимерного покрытия. Концы винтов на клеммной колодке имеют округлую форму, что позволяет зафиксировать провода без повреждений. Клеммные колодки из керамики обеспечивают надёжное соединение в условиях пожара. Все наружные элементы крепления выполнены из нержавеющей стали.  Коробки сертифицированы на соответствие требованиям технического регламента: ТР ТС 004/2011 «О безопасности низковольтного оборудования». 

Характеристики

Степень защиты: IP66. 

Огнестойкость в составе кабельной линии: 60 минут. 

Климатическое исполнение по ГОСТ 15150: УХЛ 1. 

Диапазон температур окружающей среды при эксплуатации: от -40 до +130°С.

Диапазон внешних диаметров присоединяемого кабеля М16(4-8), М20(6-12), М25(13-18) мм.

Номинальная соединительная способность клемм: 3.0, 6.0, 10.0 мм2.

Номинальное напряжение клемм: 450 В.

Модификации

Обозначение модификации  Размер**, мм Кол-во вводов, до  Кол-во контактов, до
КМ-О IP66-080886х86х6248
КМ-О IP66-081286х126х62612
КМ-О IP66-1010103х103х6248 или 14
КМ-О IP66-1212123х123х62816
КМ-О IP66-1224120х240х621216
КМ-О IP66-1515150х150х62816
КМ-О IP66-1530150х300х621228
КМ-О IP66-2020200х200х621232
КМ-О IP66-2040200х400х622064

 

* при условии применения клемм номинальной соединительной способностью до 10 мм2

** Без учёта кронштейнов крепления и вводов.

Обозначение коробок монтажных огнестойких при заказе КМ-О(10к*6,0)-IP66-х-A(кв)B(кв)C(кв)D(кв)E(кв)F(кв)G(кв)H(кв)I(кв)J(кв)K(кв)L(кв)M(кв)N(кв) O(кв)P(кв)Q(кв)R(кв)S(кв)T(кв), где:

КМ-О – тип коробки;

10к — количество контактов в клеммной колодке;

6,0 – номинальная соединительная способность клемм. В случае установки клеммной колодки, предназначенной для присоединения проводов с сечением до 3,0 мм2, данное условное обозначение не указывается;

IP66— степень защиты оболочки;

х — размер корпуса коробки: «1212»; «1224»; «1515»; «1530»; «2020»; «2040» см. таб. «Модификации» КМ-О IP66;

A(кв)B(кв)C(кв)D(кв)E(кв)F(кв)G(кв)H(кв)I(кв)J(кв)K(кв)L(кв)M(кв)N(кв)O(кв)P(кв)R(кв)S(кв) T(кв) – расположение, наличие и тип кабельного ввода.

Например, в коробке «1212» установлены кабельные вводы: A(К6-12)B(К6-12)C(МР6-12)D(МР6-12)E(V/S20)F(V/S20)G(Т20)H(Т5). Если кабельный ввод отсутствует, то в обозначении «ABCDEFGHIJKLMNOPRST» пропущена соответствующая буква. Допускается в обозначении одинаковые кабельные вводы объединять под соответствующими буквами, например (ABCDE) К6-12.

Типы кабельных вводов, используемых в КМ-О IP66 для подсоединения кабеля, проложенного в металлорукаве, гофрированной нержавеющей трубе или водогазопроводной трубе.

Диаметр кабеля, ммКабельный вводКабельный ввод для кабеля в металлорукавеКабельный ввод для кабеля в трубе
3-6,5K3-6,5T15
4-8K4-8МР 4-8 (10)T15
6-12K6-12МР 6-12 (15)T15
10-14K10-14МР 8-16 (20)T15
8-16K8-16МР 8-16 (20)T15,20
13-18K13-18МР 13-18 (20)T20,25

 

Типы и изготовители кабельных вводов могут меняться по усмотрению изготовителя при сохранении основных характеристик. По желанию заказчика в коробки IP66 возможно установить нестандартные кабельные вводы. Обозначения наименования и положения кабельных вводов для КМ-О IP66  

Обозначения наименования и положения кабельных вводов для КМ-О IP66

Дополнительная информация

Размер ключа, используемого для крепления крышки коробок к корпусу (момент затяжки: от 1.5 до 2 Нм):

• S14 (размер коробок без учета элементов крепления и кабельных вводов: от 80х80х62 до 120х240х62 мм);

• S10 (размер коробок без учета элементов крепления и кабельных вводов: от 150х150х62 до 200х400х62 мм).

Размер ключа для крепления зажимов РЕ:

S8. Размер отверстий для крепления коробок: 7 мм.

Гарантийный срок эксплуатации коробки: 24 месяца со дня ввода в эксплуатацию.

Паспорт и руководство по эксплуатации прилагаются на партию.

Таблица. Коробки монтажные огнестойкие КМ-О IP66    

Размер и вес транспортной упаковки. Количество изделий в упаковке.

Характеристики колодок клеммных керамических 

КМ-О (8к)-IP66-0808, 4 ввода
КМ-О (14к)-IP66 1010, 4 ввода
КМ-О (12к)-IP66 0812, 6 вводов
КМ-О (12к)-IP66 1212, 8 вводов
КМ-О (16к)-IP66 1224, 12 вводов
КМ-О (16к)-IP66 1515, 8 вводов
КМ-О (28к)-IP66 1530, 12 вводов
КМ-О (32к)-IP66 2020, 12 вводов
КМ-О (64к)-IP66 2040, 18 вводов